|
FairPlay Processed Marks Sheet |
|
Dietmar Poll - Swift S-1 G-LUPY |
|
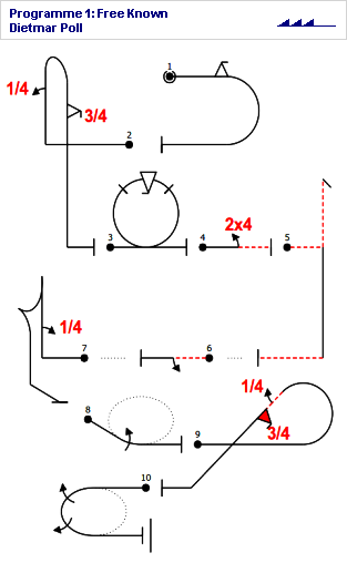
Unlimited : Programme 1: Free Known |
| |
Glider Nationals 2017 at Saltby, 24 - 27 August 2017 |
|
| |
Contest Director: Nick Buckenham, Contest Chief Judge: Leif Culpin |
|
| |
Judges: 1 - Leif Culpin, 2 - Andy Cunningham, 3 - Martin Sandford |
|
 |
Fig
No |
K
factor |
CJ1 |
J2 |
J3 |
CHZ |
Av'ge
marks |
Equiv
scores |
|
1 |
18 |
AVG |
8.0 |
8.5 |
OK |
8.25 |
148.50 |
| |
8.21 |
7.89 |
8.47 |
|
8.19 |
147.42 |
|
2 |
36 |
7.5 |
7.5 |
7.0 |
OK |
7.33 |
263.88 |
| |
7.56 |
7.57 |
6.74 |
|
7.29 |
262.40 |
|
3 |
26 |
7.5 |
7.0 |
Lo
PZ |
OK |
4.83 |
125.58 |
| |
7.56 |
7.12 |
7.59 |
|
7.42 |
192.91 |
|
4 |
10 |
9.0 |
8.5 |
AVG |
OK |
8.75 |
87.50 |
| |
8.87 |
8.53 |
8.73 |
|
8.71 |
87.11 |
|
5 |
23 |
6.0 |
9.0 |
9.0 |
OK |
8.00 |
184.00 |
| |
6.51 |
9.17 |
9.00 |
|
8.23 |
189.19 |
|
6 |
8 |
10.0 |
8.0 |
9.0 |
OK |
9.00 |
72.00 |
| |
9.66 |
7.89 |
9.00 |
|
8.85 |
70.80 |
|
7 |
26 |
7.0 |
7.0 |
7.0 |
OK |
7.00 |
182.00 |
| |
7.29 |
6.61 |
6.89 |
|
6.93 |
180.26 |
|
8 |
19 |
8.0 |
7.0 |
8.0 |
OK |
7.67 |
145.73 |
| |
8.08 |
6.61 |
7.94 |
|
7.55 |
143.38 |
|
9 |
30 |
6.5 |
7.0 |
7.5 |
OK |
7.00 |
210.00 |
| |
6.60 |
7.12 |
7.34 |
|
7.02 |
210.62 |
|
10 |
34 |
7.0 |
7.0 |
7.5 |
OK |
7.17 |
243.78 |
| |
7.29 |
6.61 |
7.42 |
|
7.11 |
241.68 |
|
Posi |
15 |
9.0 |
8.5 |
8.0 |
OK |
8.50 |
127.50 |
| |
8.99 |
8.46 |
7.94 |
|
8.46 |
126.94 |
|
This sequence has been completed.
FairPlay scores here are FINAL |
| Judge Scores |
1821.94 |
1847.53 |
1884.12 |
|
|
|
|
Processed score total (2450
= max.poss ) |
1851.20 |
|
|
Too Low Too High Interruptions Insertions Missed Slot Trg. Violation Faulty W/rocks Out of Box |
70.0 0.0 0.0 0.0 0.0 0.0 0.0 0.0 |
|
|
|
Minus 70 penalties: |
1781.20 |
|
|
| Final
score valuation |
72.70 |
% |
|